防爆風速風向儀
產品型號:FT-WFB5
產品(pin)簡介:防(fang)爆風(feng)(feng)速(su)風(feng)(feng)向(xiang)儀(yi)又(you)稱一(yi)體化(hua)防(fang)爆風(feng)(feng)速(su)風(feng)(feng)向(xiang)儀(yi)、防(fang)爆氣象傳感器(qi),防(fang)爆風(feng)(feng)速(su)風(feng)(feng)向(xiang)儀(yi)可以用在化(hua)工廠、油(you)庫、隧道(dao)、礦井(jing)等(deng)易(yi)燃易(yi)爆的特殊場(chang)景,針(zhen)對化(hua)工廠、油(you)庫等(deng)而研發(fa)生產的一(yi)款一(yi)體化(hua)風(feng)(feng)速(su)風(feng)(feng)向(xiang)儀(yi)。
市(shi)場價格:¥ 7980元
聯系方(fang)式:15689257565
相關產品
一、防爆風速風向儀產品簡介
防(fang)爆(bao)(bao)風(feng)速(su)風(feng)向儀(yi)又稱一體(ti)化(hua)防(fang)爆(bao)(bao)風(feng)速(su)風(feng)向儀(yi)、防(fang)爆(bao)(bao)氣象(xiang)傳感器(qi),防(fang)爆(bao)(bao)風(feng)速(su)風(feng)向儀(yi)可以用在(zai)化(hua)工(gong)(gong)廠(chang)(chang)、油(you)庫、隧道、礦井等(deng)易燃(ran)易爆(bao)(bao)的(de)(de)特殊場景,針對(dui)化(hua)工(gong)(gong)廠(chang)(chang)、油(you)庫等(deng)而(er)研發生產(chan)(chan)的(de)(de)一款一體(ti)化(hua)風(feng)速(su)風(feng)向儀(yi)。山(shan)東風(feng)途物(wu)聯網科技(ji)有限公(gong)司(si)作(zuo)為專業(ye)研發生產(chan)(chan)銷售一體(ti)化(hua)防(fang)爆(bao)(bao)氣象(xiang)傳感器(qi)的(de)(de)企業(ye),一直致力(li)于微(wei)型氣象(xiang)儀(yi)和氣象(xiang)環境解決方案(an)推廣應用。具有完(wan)整的(de)(de)生產(chan)(chan)鏈(lian)、實力(li)雄厚的(de)(de)技(ji)術(shu)團隊和全面的(de)(de)營銷團隊,我(wo)們研發生產(chan)(chan)的(de)(de)超(chao)聲波防(fang)爆(bao)(bao)風(feng)速(su)風(feng)向儀(yi)、防(fang)爆(bao)(bao)五(wu)要素(su)微(wei)氣象(xiang)儀(yi)等(deng)氣象(xiang)產(chan)(chan)品(pin),已廣泛應用到(dao)化(hua)工(gong)(gong)廠(chang)(chang)、油(you)庫、隧道、礦井等(deng)領域(yu),客戶遍(bian)布全國各地,并取得了良(liang)好的(de)(de)社會效(xiao)益和經濟(ji)效(xiao)益。
與(yu)傳統(tong)的微型氣象儀(yi)相比,我司產品(pin)克服了對高(gao)精度(du)計時器(qi)的需(xu)求,避免了因傳感(gan)器(qi)啟動延時、解調電路延時、溫度(du)變化而(er)造(zao)成的測(ce)量不準問題。
防(fang)爆風速(su)風向儀創新性地將風速(su)、風向、溫度、濕度、大氣壓力(li)通(tong)過一(yi)個高集成度結構來實現,可實現戶外氣象(xiang)參數24小時連續在線監測,通(tong)過數字(zi)量通(tong)訊接口將五(wu)項(xiang)參數一(yi)次性輸(shu)出(chu)給用(yong)戶。
二、防爆風(feng)(feng)速(su)風(feng)(feng)向儀產品特點
1、頂蓋隱藏式超(chao)聲波(bo)探(tan)頭,避免雨雪堆積的干擾,避免自(zi)然風(feng)遮擋(實(shi)用新型專利,專利號ZL 2020 2 3215713.X)☆
2、原理(li)為(wei)發(fa)(fa)射連續(xu)變頻超聲波信號(hao),通過(guo)測量相(xiang)對相(xiang)位來檢測風(feng)速風(feng)向(xiang)(發(fa)(fa)明專利,專利號(hao)ZL 2021 1 0237536.5)☆
3、風速、風向、溫度、濕度、大氣壓(ya)力(li)五要素一(yi)體式(實用新型專(zhuan)利,專(zhuan)利號ZL 2020 2 3215649.5)☆
4、采用先進的傳感技術(shu),實時測量(liang),無啟動風(feng)速☆
5、抗干擾能(neng)力強,具有看門狗(gou)電路,自動復位功能(neng),保(bao)證系(xi)統穩定運行(xing)
6、高集成度,無移動部件,零磨(mo)損
7、免維(wei)護,無需現場校準
8、采(cai)用ASA工程塑料室外應用常年不變色
9、產(chan)品設計輸出(chu)信號標配為RS485通(tong)訊接口(MODBUS協(xie)議);可選配232、USB、以(yi)太網接口,支持數據實時(shi)讀取☆
10、可選(xuan)配(pei)無線傳輸模塊(kuai),最(zui)小傳輸間隔1分鐘
11、探頭為卡(ka)扣(kou)式設計(ji),解(jie)決(jue)了運輸、安(an)裝過程松動不準的問(wen)題☆
三、防(fang)爆風速風向儀(yi)技術參數
1、風(feng)速(su):測量原理超聲(sheng)波,0~60m/s(±0.1m/s)分辨率(lv)0.01m/s;(發明專(zhuan)利(li),專(zhuan)利(li)號ZL 2021 1 0237536.5)
2、風向:測量原理(li)超(chao)聲波,0~360°(±2°);分辨率:1°;(發明專(zhuan)利(li)(li),專(zhuan)利(li)(li)號(hao)ZL 2021 1 0237536.5)
3、空氣溫(wen)度(du):測量原理二極(ji)管結電壓法,-40-60℃(±0.3℃),分辨率0.01℃;(北京市氣象(xiang)局校準證書)
4、空氣(qi)濕度:測量原理電容式,0-100%RH(±3%RH),分辨率:0.1%RH;(北京市(shi)氣(qi)象(xiang)局校(xiao)準證書)
5、大氣壓力:測量原理壓阻式,300-1100hpa(±0.25%),分辨率0.1hpa;(北京市氣象(xiang)局(ju)校(xiao)準證書)
6、生(sheng)產企業具有ISO質量管(guan)理體系(xi)、環(huan)境管(guan)理體系(xi)和職業健康管(guan)理體系(xi)認證☆
7、生產企業(ye)具(ju)有計算機軟(ruan)件(jian)注冊證書☆
8、生產企(qi)業(ye)為3A級信(xin)用企(qi)業(ye)☆
9、生(sheng)產企業具(ju)有Ex ia IIC T6 Ga高(gao)等(deng)級(ji)防(fang)爆(bao)證書(shu)☆
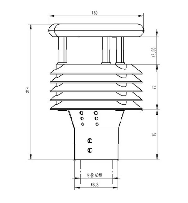
四、防爆(bao)風(feng)速風(feng)向儀產品尺(chi)寸圖

五、防(fang)爆風速風向儀(yi)產(chan)品結構(gou)圖

1、控制電路
2、指北箭頭
3、超聲波探頭
4、百葉箱
5、溫(wen)度、濕度、氣壓(ya)監測位置
6、底部固定法蘭
※此產(chan)品可選配電(dian)子羅盤、GPRS(內置)/GPS(二(er)選一)
六、防爆風速風向儀(yi)產品接線定義

VCC:棕(zong)色(se),GND:黑色(se),485A:綠色(se),485B:藍色(se)
七、防(fang)爆風(feng)速風(feng)向(xiang)儀(yi)法蘭盤固定方式

1、微氣象儀
2、固定螺釘
3、通信電纜+航插
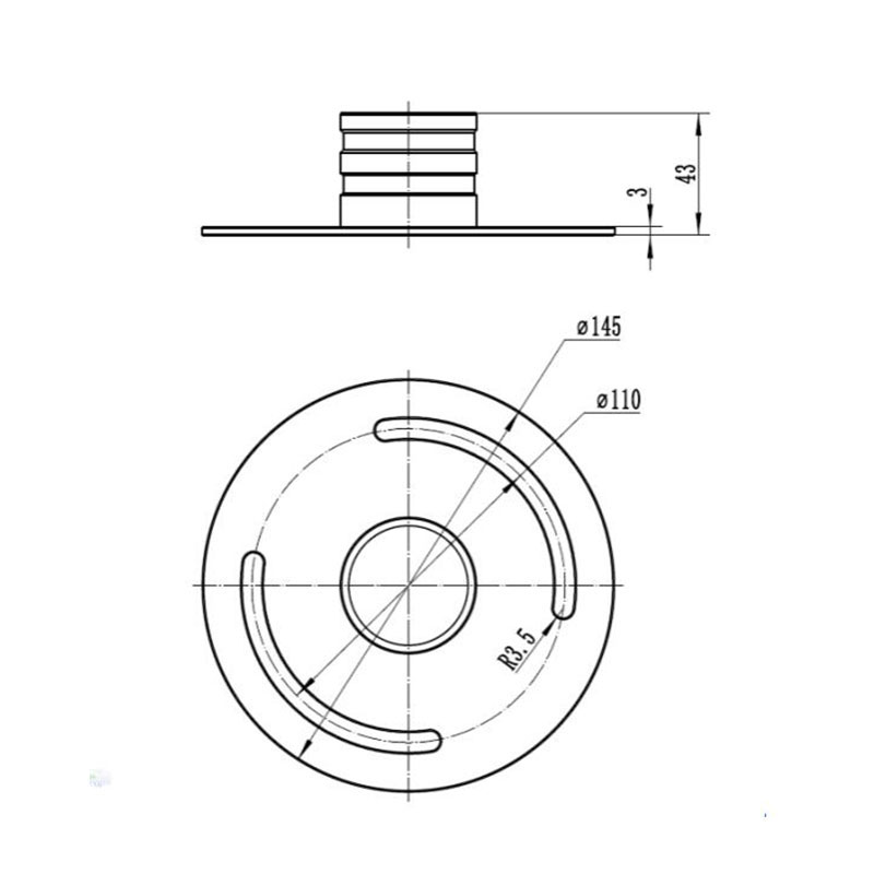
八、防(fang)爆風(feng)(feng)速(su)風(feng)(feng)向(xiang)儀(yi)法(fa)蘭盤(pan)尺寸

本文地址://jxhgyq.com/1409.html




風途首頁
電話咨詢
產品中心