相關產品
一、防爆氣象儀產品簡介
防(fang)(fang)爆(bao)氣(qi)(qi)象(xiang)儀(yi)能夠快速采集風向(xiang)、風速、溫(wen)度、濕度、氣(qi)(qi)壓等環(huan)境(jing)(jing)參數,防(fang)(fang)爆(bao)氣(qi)(qi)象(xiang)儀(yi)具有(you)(you)結構緊湊(cou)、無任何移動部件、安裝方便、免維護的(de)(de)特點,提(ti)供強大的(de)(de)拓展(zhan)功能,可以根據要求外接不同的(de)(de)傳(chuan)感器(qi)。山東風途(tu)物(wu)聯網科(ke)技有(you)(you)限公司作為專業(ye)(ye)研發生(sheng)產(chan)銷售一體化防(fang)(fang)爆(bao)氣(qi)(qi)象(xiang)傳(chuan)感器(qi)的(de)(de)企業(ye)(ye),一直致(zhi)力于微(wei)型氣(qi)(qi)象(xiang)儀(yi)和(he)氣(qi)(qi)象(xiang)環(huan)境(jing)(jing)解決(jue)方案推廣(guang)應(ying)用(yong)。具有(you)(you)完整的(de)(de)生(sheng)產(chan)鏈、實力雄厚的(de)(de)技術團(tuan)隊和(he)全面的(de)(de)營銷團(tuan)隊,我們研發生(sheng)產(chan)的(de)(de)超聲(sheng)波防(fang)(fang)爆(bao)風速風向(xiang)儀(yi)、防(fang)(fang)爆(bao)五要素微(wei)氣(qi)(qi)象(xiang)儀(yi)等氣(qi)(qi)象(xiang)產(chan)品(pin),已廣(guang)泛應(ying)用(yong)到化工廠、油庫(ku)、隧道、礦井等領域,客戶遍(bian)布全國各地(di),并取(qu)得了(le)良好的(de)(de)社會(hui)效(xiao)(xiao)益和(he)經濟效(xiao)(xiao)益。
與傳統的(de)防爆氣象儀相比,我司產(chan)品克服了(le)對高精度計時(shi)器(qi)的(de)需求,避免了(le)因(yin)傳感器(qi)啟(qi)動延(yan)時(shi)、解調(diao)電路延(yan)時(shi)、溫度變化而造成的(de)測量不準(zhun)問題。
FT-WFB5型防爆(bao)氣象儀(yi)創新性地將風速、風向(xiang)、溫度(du)、濕(shi)度(du)、大氣壓(ya)力通(tong)過一(yi)個高集成度(du)結(jie)構來實現(xian),可(ke)實現(xian)戶外氣象參(can)(can)數24小時連續在線監測,通(tong)過數字量通(tong)訊(xun)接口(kou)將五項(xiang)參(can)(can)數一(yi)次性輸出給用戶。
二、防(fang)爆氣象儀(yi)產品特點
1、頂蓋(gai)隱藏式超聲波探頭,避免雨雪堆積的干擾,避免自然(ran)風遮(zhe)擋(實(shi)用新型(xing)專利,專利號ZL 2020 2 3215713.X)☆
2、原(yuan)理(li)為(wei)發射(she)連續(xu)變頻超聲波信號(hao),通過測量相對相位來檢測風(feng)速(su)風(feng)向(發明專(zhuan)利,專(zhuan)利號(hao)ZL 2021 1 0237536.5)☆
3、風速(su)、風向、溫度(du)、濕度(du)、大氣(qi)壓力五要素一體式(實用(yong)新(xin)型專利(li),專利(li)號(hao)ZL 2020 2 3215649.5)☆
4、采用(yong)先進的傳感(gan)技術,實時(shi)測量,無啟動風速☆
5、抗干(gan)擾能力強,具有(you)看門(men)狗(gou)電路,自(zi)動復位功能,保證(zheng)系統穩定運行
6、高(gao)集成度,無移動部件,零磨損
7、免維護,無需(xu)現場(chang)校準
8、采用ASA工程塑料室外應用常年不變色(se)
9、產品(pin)設計輸(shu)出信號(hao)標配(pei)為RS485通訊接口(MODBUS協議);可選配(pei)232、USB、以(yi)太網接口,支持(chi)數據實時(shi)讀取☆
10、可選配無(wu)線傳(chuan)輸模塊,最小傳(chuan)輸間隔(ge)1分鐘
11、探頭為卡(ka)扣(kou)式設計,解決了運輸、安裝過程松(song)動不準的問(wen)題☆
三、防爆(bao)氣(qi)象儀技術(shu)參(can)數
1、風速:測量原理超聲波,0~60m/s(±0.1m/s)分辨(bian)率0.01m/s;(發明(ming)專(zhuan)利(li),專(zhuan)利(li)號ZL 2021 1 0237536.5)
2、風向:測(ce)量原理超聲(sheng)波,0~360°(±2°);分辨率:1°;(發明專利,專利號ZL 2021 1 0237536.5)
3、空氣溫度(du):測量原理二極(ji)管(guan)結電壓法,-40-60℃(±0.3℃),分辨率0.01℃;(北京(jing)市氣象局校準(zhun)證書)
4、空氣濕度:測量原理(li)電(dian)容式,0-100%RH(±0.3%RH),分辨率:0.1%RH;(北京(jing)市氣象局校準(zhun)證書)
5、大氣壓(ya)力:測(ce)量原理壓(ya)阻(zu)式,300-1100hpa(±0.25%),分辨率0.1hpa;(北(bei)京市(shi)氣象局校準證(zheng)書)
6、生(sheng)產(chan)企(qi)業具有ISO質(zhi)量管(guan)理(li)體系、環境管(guan)理(li)體系和職業健康管(guan)理(li)體系認(ren)證☆
7、生產(chan)企業具(ju)有計(ji)算機軟件注冊(ce)證書☆
8、生產企(qi)業為3A級信用企(qi)業☆
9、生(sheng)產企業具(ju)有Ex ia IIC T6 Ga高等(deng)級防爆證書☆
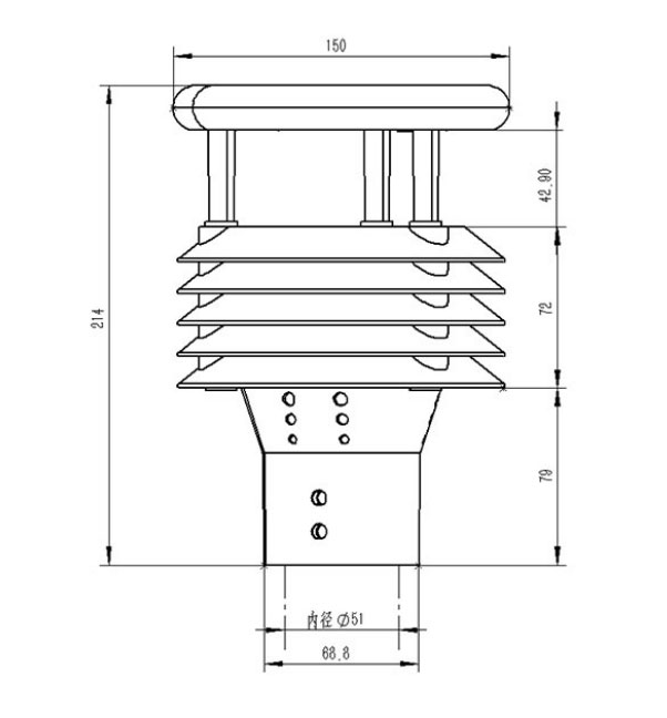
四、防(fang)爆氣象(xiang)儀(yi)產品(pin)尺寸圖

五(wu)、防(fang)爆氣象儀產品結構圖

1、控制電路
2、指北箭頭
3、超聲波探頭
4、百葉箱
5、溫度、濕(shi)度、氣(qi)壓監測(ce)位置
6、底部固定法蘭
※此產品可(ke)選配電子羅盤、GPRS(內置)/GPS(二(er)選一(yi))
六、防爆氣象儀產品(pin)接線定義(yi)

VCC:棕色(se),GND:黑色(se),485A:綠(lv)色(se),485B:藍色(se)
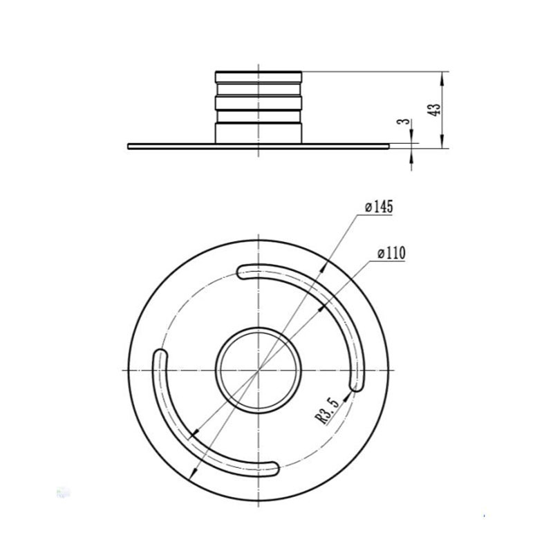
七(qi)、防(fang)爆氣象(xiang)儀(yi)法蘭(lan)盤固定方式

1、微氣象儀
2、固定螺釘
3、通信電纜+航插
法蘭盤尺寸

本文地址://jxhgyq.com/1410.html




風途首頁
電話咨詢
產品中心